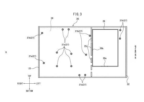
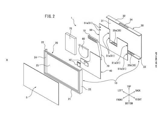
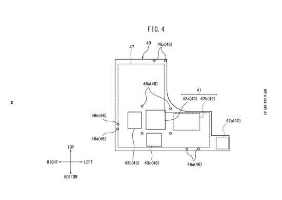
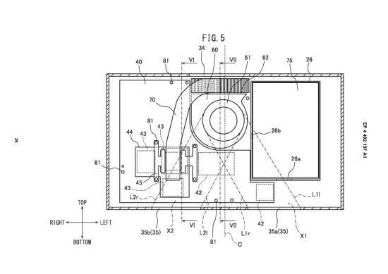
任天堂此前已经正式公布了Switch 2,据外媒gamerant报道,任天堂日前在美国和欧洲发布了两项专利,这些专利似乎展示了一种主动散热系统,该系统通过从主机外部吸入空气来散热,起到降温的效果,示意图如下:
gamerant认为,尽管这两项专利未明确提到Switch 2,但它们是在Switch 2被公布后发布的,强烈暗示了这两项专利与Switch 2的关联。但gamerant也称这只是猜测,还无法确定这些专利是否真的与Switch 2的散热系统有关。
飞行射击
36.1MB
休闲益智
62.9MB
54MB
69.73MB
卡牌策略
120.7MB
11MB
游戏辅助 | 4.5GB
2024-04-24
动作格斗 | 20GB
2024-04-23
角色扮演 | 3.2GB
2024-04-22
角色扮演 | 500MB
休闲益智 | 30.17MB
2024-04-18
生活服务 | 144.35MB
学习教育 | 24.26MB
2023-11-08
系统工具 | 6.78MB
游戏辅助 | 4.5GB
动作格斗 | 20GB
角色扮演 | 372.08MB
体育竞技 | 88.6MB
休闲益智 | 35.93MB
角色扮演 | 500MB
卡牌策略 | 19.6MB
动作格斗 | 98.31MB
飞行射击 | 1170MB
疑似Switch2散热专利曝光!主动散热从外部吸入空气
任天堂此前已经正式公布了Switch 2,据外媒gamerant报道,任天堂日前在美国和欧洲发布了两项专利,这些专利似乎展示了一种主动散热系统,该系统通过从主机外部吸入空气来散热,起到降温的效果,示意图如下:
gamerant认为,尽管这两项专利未明确提到Switch 2,但它们是在Switch 2被公布后发布的,强烈暗示了这两项专利与Switch 2的关联。但gamerant也称这只是猜测,还无法确定这些专利是否真的与Switch 2的散热系统有关。
飞行射击
36.1MB
休闲益智
62.9MB
休闲益智
54MB
休闲益智
69.73MB
卡牌策略
120.7MB
飞行射击
11MB
游戏辅助 | 4.5GB
2024-04-24
动作格斗 | 20GB
2024-04-23
角色扮演 | 3.2GB
2024-04-22
角色扮演 | 500MB
2024-04-22
休闲益智 | 30.17MB
2024-04-18
生活服务 | 144.35MB
2024-04-18
生活服务 | 144.35MB
2024-04-18
生活服务 | 144.35MB
2024-04-18
学习教育 | 24.26MB
2023-11-08
系统工具 | 6.78MB
2023-11-08
游戏辅助 | 4.5GB
动作格斗 | 20GB
角色扮演 | 372.08MB
体育竞技 | 88.6MB
休闲益智 | 35.93MB
角色扮演 | 500MB
卡牌策略 | 19.6MB
动作格斗 | 98.31MB
飞行射击 | 1170MB