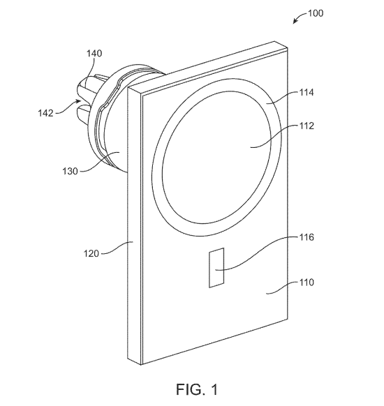
美国商标和专利局(USPTO)于7月16日发布公示,苹果公司获批一项新的设计专利,暗示该公司未来将会推出支持无线充电的车用MagSafe支架。
苹果公司在专利中表示,iPhone等电子设备已成为用户的日常携带物品,针对汽车驾驶场景,开发专门的支架,避免因急转弯或急刹车等情况下,导致iPhone移动、脱落等。
苹果在专利中探索了固定iPhone的车用支架,可以固定在通风口盖、仪表板、中控台、杯座等汽车内饰上,并且支持MagSafe无线充电,可以给iPhone或者其它支持Qi标准的设备充电。相关图片如下:
卡牌策略
123MB
休闲益智
26.8MB
71.21MB
飞行射击
75MB
147.14MB
71.64MB
游戏辅助 | 4.5GB
2024-04-24
动作格斗 | 20GB
2024-04-23
角色扮演 | 3.2GB
2024-04-22
角色扮演 | 500MB
休闲益智 | 30.17MB
2024-04-18
生活服务 | 144.35MB
学习教育 | 24.26MB
2023-11-08
系统工具 | 6.78MB
游戏辅助 | 4.5GB
动作格斗 | 20GB
休闲益智 | 35.93MB
角色扮演 | 372.08MB
卡牌策略 | 19.6MB
动作格斗 | 98.31MB
角色扮演 | 500MB
卡牌策略 | 78.64MB
休闲益智 | 150.45MB
苹果未来或推出iPhone车用支架:还支持无线充电!
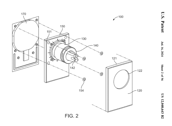
美国商标和专利局(USPTO)于7月16日发布公示,苹果公司获批一项新的设计专利,暗示该公司未来将会推出支持无线充电的车用MagSafe支架。
苹果公司在专利中表示,iPhone等电子设备已成为用户的日常携带物品,针对汽车驾驶场景,开发专门的支架,避免因急转弯或急刹车等情况下,导致iPhone移动、脱落等。
苹果在专利中探索了固定iPhone的车用支架,可以固定在通风口盖、仪表板、中控台、杯座等汽车内饰上,并且支持MagSafe无线充电,可以给iPhone或者其它支持Qi标准的设备充电。相关图片如下:
卡牌策略
123MB
休闲益智
26.8MB
卡牌策略
71.21MB
飞行射击
75MB
飞行射击
147.14MB
休闲益智
71.64MB
游戏辅助 | 4.5GB
2024-04-24
动作格斗 | 20GB
2024-04-23
角色扮演 | 3.2GB
2024-04-22
角色扮演 | 500MB
2024-04-22
休闲益智 | 30.17MB
2024-04-18
生活服务 | 144.35MB
2024-04-18
生活服务 | 144.35MB
2024-04-18
生活服务 | 144.35MB
2024-04-18
学习教育 | 24.26MB
2023-11-08
系统工具 | 6.78MB
2023-11-08
游戏辅助 | 4.5GB
动作格斗 | 20GB
休闲益智 | 35.93MB
角色扮演 | 372.08MB
卡牌策略 | 19.6MB
动作格斗 | 98.31MB
角色扮演 | 500MB
卡牌策略 | 78.64MB
休闲益智 | 150.45MB