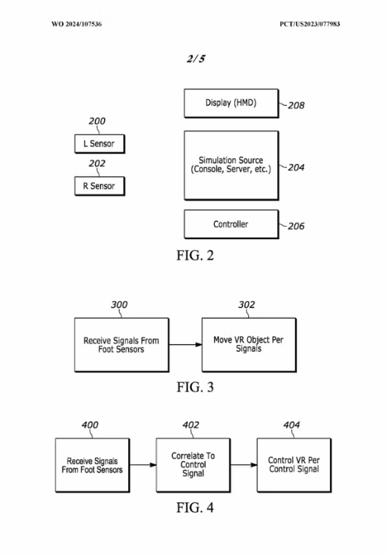
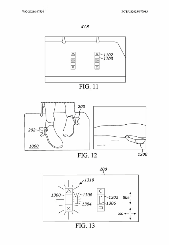
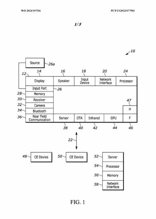
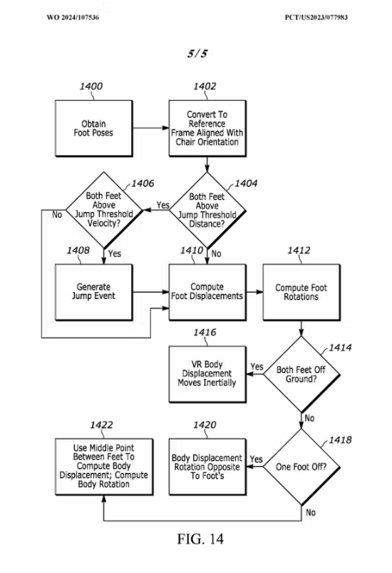
据外媒gamerant报道,索尼最近提交了一项新专利,专利详细介绍了一种独特的配件——VR足部传感器。我们一起来看一下专利图。
gamerant表示,该配件允许玩家在保持躯干稳定的同时用脚移动游戏中的角色。也就是说,玩家并不是简单地使用手柄来移动角色,而是通过连接脚部的传感器,并利用脚使用摆动、倾斜和扭转的动作来进行游戏的新体验。但gamerant也提醒道,像索尼这样的大公司会经常申请新的视频游戏技术专利,如果没有官方公告的话就不能保证这款VR足部传感器会被生产和销售。
目前索尼尚未对此专利进行回应,gamerant认为,该专利可能会被用在索尼的PlayStation VR系列产品中。
赛车竞速
66.5MB
休闲益智
80.4MB
100MB
87.44MB
52.3MMB
飞行射击
59MB
游戏辅助 | 4.5GB
2024-04-24
动作格斗 | 20GB
2024-04-23
角色扮演 | 3.2GB
2024-04-22
角色扮演 | 500MB
休闲益智 | 30.17MB
2024-04-18
生活服务 | 144.35MB
学习教育 | 24.26MB
2023-11-08
系统工具 | 6.78MB
游戏辅助 | 4.5GB
动作格斗 | 20GB
卡牌策略 | 19.6MB
卡牌策略 | 78.64MB
动作格斗 | 98.31MB
休闲益智 | 35.93MB
休闲益智 | 114MB
休闲益智 | 150.45MB
休闲益智 | 78.65MB
VR之鞋?曝索尼正在开发VR足部传感器:专利现端倪
据外媒gamerant报道,索尼最近提交了一项新专利,专利详细介绍了一种独特的配件——VR足部传感器。我们一起来看一下专利图。
gamerant表示,该配件允许玩家在保持躯干稳定的同时用脚移动游戏中的角色。也就是说,玩家并不是简单地使用手柄来移动角色,而是通过连接脚部的传感器,并利用脚使用摆动、倾斜和扭转的动作来进行游戏的新体验。但gamerant也提醒道,像索尼这样的大公司会经常申请新的视频游戏技术专利,如果没有官方公告的话就不能保证这款VR足部传感器会被生产和销售。
目前索尼尚未对此专利进行回应,gamerant认为,该专利可能会被用在索尼的PlayStation VR系列产品中。
赛车竞速
66.5MB
休闲益智
80.4MB
休闲益智
100MB
休闲益智
87.44MB
赛车竞速
52.3MMB
飞行射击
59MB
游戏辅助 | 4.5GB
2024-04-24
动作格斗 | 20GB
2024-04-23
角色扮演 | 3.2GB
2024-04-22
角色扮演 | 500MB
2024-04-22
休闲益智 | 30.17MB
2024-04-18
生活服务 | 144.35MB
2024-04-18
生活服务 | 144.35MB
2024-04-18
生活服务 | 144.35MB
2024-04-18
学习教育 | 24.26MB
2023-11-08
系统工具 | 6.78MB
2023-11-08
游戏辅助 | 4.5GB
动作格斗 | 20GB
卡牌策略 | 19.6MB
卡牌策略 | 78.64MB
动作格斗 | 98.31MB
休闲益智 | 35.93MB
休闲益智 | 114MB
休闲益智 | 150.45MB
休闲益智 | 78.65MB