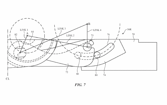
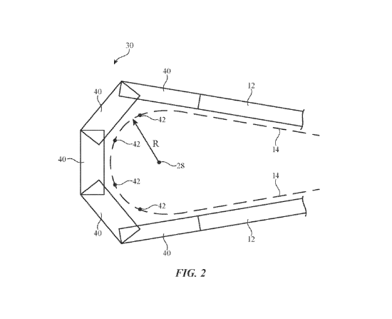
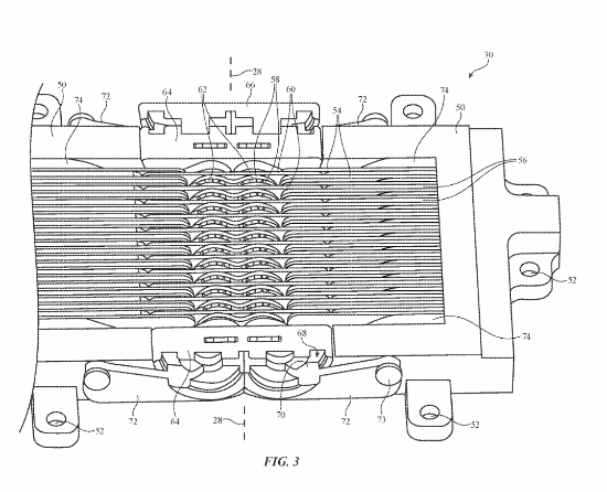
据外媒patentlyapple报道,苹果目前在美国商标和专利局(USPTO)提交了一份新专利,专利中最大的亮点在于独特的铰链设计,可以实现向内、向外双向折叠,我们一起来看一下专利图。
目前主流折叠屏手机只能实现向内或者向外单向折叠方式,而苹果公司在这项专利中探索了全新的双向折叠方式。
苹果“放飞吧”特别活动即将展开,届时或会有新品展出,敬请期待。
生存冒险
340MB
176MB
卡牌策略
792.46MB
动作格斗
4.93MB
56.32MB
角色扮演
119.97MB
游戏辅助 | 4.5GB
2024-04-24
动作格斗 | 20GB
2024-04-23
角色扮演 | 3.2GB
2024-04-22
角色扮演 | 500MB
休闲益智 | 30.17MB
2024-04-18
生活服务 | 144.35MB
学习教育 | 24.26MB
2023-11-08
系统工具 | 6.78MB
游戏辅助 | 4.5GB
动作格斗 | 20GB
卡牌策略 | 19.6MB
动作格斗 | 98.31MB
卡牌策略 | 78.64MB
休闲益智 | 35.93MB
休闲益智 | 150.45MB
休闲益智 | 114MB
休闲益智 | 12.8MB
可双向折叠!曝新款iPhone折叠屏或可向内外折叠
据外媒patentlyapple报道,苹果目前在美国商标和专利局(USPTO)提交了一份新专利,专利中最大的亮点在于独特的铰链设计,可以实现向内、向外双向折叠,我们一起来看一下专利图。
目前主流折叠屏手机只能实现向内或者向外单向折叠方式,而苹果公司在这项专利中探索了全新的双向折叠方式。
苹果“放飞吧”特别活动即将展开,届时或会有新品展出,敬请期待。
生存冒险
340MB
生存冒险
176MB
卡牌策略
792.46MB
动作格斗
4.93MB
动作格斗
56.32MB
角色扮演
119.97MB
游戏辅助 | 4.5GB
2024-04-24
动作格斗 | 20GB
2024-04-23
角色扮演 | 3.2GB
2024-04-22
角色扮演 | 500MB
2024-04-22
休闲益智 | 30.17MB
2024-04-18
生活服务 | 144.35MB
2024-04-18
生活服务 | 144.35MB
2024-04-18
生活服务 | 144.35MB
2024-04-18
学习教育 | 24.26MB
2023-11-08
系统工具 | 6.78MB
2023-11-08
游戏辅助 | 4.5GB
动作格斗 | 20GB
卡牌策略 | 19.6MB
动作格斗 | 98.31MB
卡牌策略 | 78.64MB
休闲益智 | 35.93MB
休闲益智 | 150.45MB
休闲益智 | 114MB
休闲益智 | 12.8MB